关于《呼吸系统过滤器注册审查指导原则意见征求中》等13项医疗器械注册审查指导原则公开征求意见的通知
各有关单位:
根据国家药品监督管理局医疗器械注册审查指导原则项目计划的有关要求,我中心组织编制了《呼吸系统过滤器注册审查指导原则》等13项第二类指导原则(附件1),现已形成征求意见稿,即日起在网上公开征求意见。如有意见和建议,请填写意见反馈表(附件2),并于2022年12月15日前反馈至相应的联系人(附件3)。
附件1:呼吸系统过滤器注册审查指导原则(征求意见稿)
附件2.意见反馈表
附件3.联系方式
国家药品监督管理局
医疗器械技术审评中心
2022年11月18日
呼吸系统过滤器注册审查指导原则
(征求意见稿)
本指导原则旨在指导注册申请人对呼吸系统过滤器(Breathing system filiter,简称BSF)产品注册申报资料的准备及撰写,同时也为技术审评部门提供参考。
本指导原则是对呼吸系统过滤器产品的一般要求,申请人应依据具体产品的特性对注册申报资料的内容是否适用。若不适用,需具体阐述其理由及相应的科学依据,并依据产品的具体特性对注册申报资料的内容进行充实和细化。
本指导原则是供注册申请人和技术审评人员使用的指导性文件,但不包括审评审批所涉及的行政事项,亦不作为法规强制执行,应在遵循相关法规的前提下使用本指导原则。如果有能够满足相关法规要求的其他方法,也可以采用,但是需要提供详细的研究资料和验证资料。
本指导原则是在现行法规和标准体系以及当前认知水平下制定的,随着法规和标准的不断完善,以及科学技术的不断发展,本指导原则相关内容也将进行适时的调整。
本指导原则适用的呼吸系统过滤器通常由壳体和滤芯组成,包含一个进气口和一个出气口,可有若干气体采样口和密封盖,一般为无菌供应。该类产品与麻醉和呼吸设备和肺功能仪相配套,供降低患者吸入或呼出颗粒性物质(包括微生物)的数量用。
产品名称应符合《医疗器械通用名称命名指导原则》的要求,也可参考《医疗器械分类目录》中的名称。如呼吸系统过滤器、呼吸气体过滤器、一次性使用呼吸气体过滤器、麻醉呼吸过滤器等。根据产品一次性使用或者灭菌情况,产品名称中可带有“一次性使用”或“无菌”字样。
呼吸系统过滤器在《医疗器械分类目录》中管理类别为II类,分类编码为:08-05-03。
注册单元划分参照《医疗器械注册单元划分指导原则》的要求,原则上以产品的技术原理、结构组成、性能指标、适用范围为划分依据。
由于过滤介质的不一致,导致过滤机理不同的情形建议划分为不同的注册单元。
以表格形式列出拟申报产品的型号、规格、结构及组成,以及每个型号规格的标识(如型号或部件的编号,器械唯一标识等)和描述说明(如材质等)。
在产品申报前,如果申请人与监管机构针对申报产品以会议形式进行了沟通,或者申报产品与既往注册申报相关。应提交相关沟通记录。
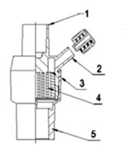
产品通常由上盖、过滤介质、下盖、辅助端口(如有)、护帽(如有)等组成。


图1
1-机器端口;2-辅助端口;3-外壳;4-过滤介质;5-患者端口

图2
1-患者端口;2-外壳;3-过滤介质;4 -机器端口
呼吸道中的病原微生物主要以水分为载体,呼吸系统过滤器中的过滤介质(过滤膜)可使用聚丙烯复合材料等制成,疏水性能好且孔径小,呼吸系统过滤器的机器端口与患者端口的两端存在压力差,过滤介质中的滤孔,可对气体中的微粒过滤,防止空气中悬浮的细菌及病毒通过,接受水蒸气,而不允许液态水通过。
呼吸系统过滤器的过滤原理主要为拦截效应、惯性效应、扩散效应、静电效应。
拦截效应:当较大粒子沿着流线运动到纤维表面,较大粒子被过滤材料机械筛滤作用拦截而沉积下来,原理示意图如图3所示;惯性效应:当粒子质量较大或者速度较大,在流线拐弯时,粒子由于惯性作用脱离流线撞击到滤材表面,因吸附力停留在撞击表面,原理示意图如图4所示;扩散效应:由于气体分子热运动对粒子的碰撞而产生的粒子的布朗运动,粒子布朗运动扩散位移到过滤纤维中被吸附,对于越小的粒子越显著,原理示意图如图5所示;静电吸附效应:粒子被过滤材料的静电作用吸附而沉积下来,原理示意图如图6所示。



图5 扩散拦截示意图

图6 静电吸附示意图
产品具有过滤功能,应说明过滤作用、过滤效率及其原理。
申报产品需要描述注册单元内所有产品组成的包装信息(初包装、中包装、大包装),说明包装形式、包装材料、包装工艺、包装原材料供应商等信息,提供包装图示;产品的初包装应与灭菌方法相适应(如适用)。
阐述申请注册产品的研发背景和目的。如有参考的同类产品或前代产品,应当提供同类产品或前代产品的信息,并说明选择其作为研发参考的原因。
注册申请人需列表比较说明本次申报产品与已上市同类或前代产品(如有)的相同点和不同点,比较的项目包括产品名称、工作原理、原材料、结构特点、性能指标、适用范围、生产工艺、灭菌方式、有效期,以及与市场上同类产品在技术、设计和应用方面的比较资料等。
与麻醉和呼吸设备和肺功能仪相配套,供降低患者吸入或呼出颗粒性物质(包括微生物)的数量用。
a.呼吸道有大量泡沫或黏稠分泌物,或有呼吸道脱水、咳血症、呼吸道损伤的病人禁用。
b.对于严重肺功能不全等不能耐受通路阻力增加者禁用。
注册申请人在风险分析时应关注同品种医疗器械产品的不良事件历史记录,收集包括注册申请人建立的投诉和不良事件资料库,以及各国监管机构发布的不良事件资料库中相应不良事件数据,并对不良事件进行分析,如国家药品监督管理局发布的《医疗器械不良事件信息通报》、《医疗器械警戒快讯》,美国食品药品管理局注册申请人与用户机构设备使用数据库(MAUDE),英国医疗器械警报(MDA)等。
1.1在对风险的判定及分析中,要考虑合理的可预见的情况,它们包括:正常使用条件下;非正常使用条件下;
1.2风险判定及分析应包括:对于患者的危害;对于操作者的危害;对于环境的危险害;
1.3风险形成的初始原因应包括:人为因素包括不合理的操作;产品结构、原材料、综合危害;环境条件;
1.4风险判定及分析考虑的问题包括:产品原材料生物学危害;产品质量是否会导致使用中出现不正常结果;操作信息,包括警示性语言、注意事项以及使用方法的准确性;使用可能存在的危害等。
呼吸系统过滤器产品的风险管理报告应符合YY/T 0316《医疗器械风险管理对医疗器械的应用》的有关要求,审查要点包括:
1.5.1产品安全性特征判定是否准确(依据YY/T 0316附录C);
1.5.2危害分析是否全面(依据YY/T 0316附录E);
1.5.3风险可接收准则,降低风险的措施及采取措施后风险的可接收程度,是否有新的风险产生。
根据YY/T 0316《医疗器械 风险管理对医疗器械的应用》附录E对“呼吸系统过滤器产品”已知或可预见的风险进行判定,产品在进行风险分析时至少应包括以下的主要危害,企业还应根据自身产品特点确定其他危害。针对产品的各项风险,企业应采取应对措施,确保风险降到可接受的程度。
表1 产品主要危害
申请人应根据产品的实际情况,拟定产品技术要求应符合《医疗器械注册与备案管理办法》等相关规定,应不低于产品适用的强制性国家标准/行业标准,按照《医疗器械产品技术要求编写指导原则》要求编写。
本条款给出呼吸系统过滤器的产品基本技术性能指标,但并未给出定量要求,企业可参考相应的国家标准、行业标准,如YY/T 0753.1《麻醉和呼吸用呼吸系统过滤器 第1部分:评价过滤性能的盐试验方法》、YY/T 0753.2《麻醉和呼吸用呼吸系统过滤器 第2部分:非过滤方面》,根据企业自身产品的技术特点制定相应的技术要求。
2.1.1外观:应整洁,色泽应均匀,应无伤痕、划痕、裂纹、飞边及锋棱。
2.1.2.2呼吸系统过滤器机器端口和患者端口应符合相关标准(如YY/T1040.1);若有辅助端口(如用于气体采样、监护和压力检测等连接的端口),该端口应不能与符合YY1040.1和YY1040.2中15mm或22mm的圆锥接头相连接,该端口应提供一个封堵装置。
2.1.7细菌过滤性能(如声称具有细菌过滤性能),检验方法可参考YY0469附录B实施(检验方法应先进行验证)。
2.2.1根据不同材料特性,由企业对化学性能提出要求(如酸碱度、易氧化物、重金属总含量、蒸发残渣等)。
2.2.2用环氧乙烷灭菌的产品应规定环氧乙烷残留量的要求。
非无菌供应一次性使用的产品,若产品使用前不需要进行消毒、灭菌处理,应对其微生物限度进行评价,同时可参考《中华人民共和国药典》中微生物限度检查法进行检测。
2.5若产品包含成人与儿童规格,应结合产品功能、结构制定相关性能要求(如不同气体流量条件下的压降要求)。
3.1注册申请人应提供符合医疗器械申报注册法规文件要求的检测报告。
3.2同一注册单元中的典型产品是指能够代表本注册单元内其他产品安全性和有效性的产品。其功能最齐全、结构最复杂、风险最高。
若一个型号不能覆盖,除选择典型型号进行全性能检验外,还应选择其他型号进行差异性检验。不同型号规格(成人、儿童等)需要差异性检验。
产品检验时,“压降”应根据不同适用人群覆盖不同潮气量、气体流量。
应详述产品技术要求中主要性能指标及检验方法的确定依据,提供采用的原因及理论基础,提供涉及的研究性资料、文献资料和标准文本。如适用的国家标准、行业标准中有不采纳的条款,应将不采纳的条款及其理由予以阐明。
如有不适用的性能指标,申请人应说明理由,如死腔体积。
应描述呼吸系统过滤器与人体间接接触部件的材料,以及接触的性质和时间,参照GB/T 16886系列标准或《医疗器械生物学评价和审查指南》、YY/T1778.1的要求对其进行生物相容性评价,至少进行细胞毒性、黏膜刺激、迟发型超敏反应的生物学评价研究。
4.3.1 灭菌研究:明确产品的灭菌工艺(方法和参数)和无菌保证水平(SAL)。可参考GB 18278《医疗保健品灭菌 湿热》系列标准、GB 18279《医疗保健产品灭菌 环氧乙烷》系列标准、GB 18280《医疗保健产品灭菌 辐射》系列标准等,提供灭菌研究资料。若灭菌使用的方法容易出现残留,如环氧乙烷灭菌,应当明确残留物信息及采取的具体处理措施,参考《医疗器械生物学评价第7部分:环氧乙烷灭菌残留量》(GB/T 16886.7)等,明确残留物(如环氧乙烷)残留量接受标准及其确定依据,并提供相关研究资料。
如果灭菌方式会导致有害物质残留,应进行相关评价。如过滤介质等易吸附环氧乙烷,环氧乙烷残留量超标会产生相应危害。
4.3.2 洁净提供的非无菌呼吸系统过滤器,应明确微生物限度,微生物控制方法、环境及管理要求及检验方法可结合申报产品的危险性程度和临床使用最不利情况。可参照GB 15982《医院消毒卫生标准》及《中华人民共和国药典》提交研究资料。
呼吸系统过滤器已列入《免于临床评价医疗器械目录》(以下简称《目录》)。注册申请人结合应当按照《列入免于临床评价医疗器械目录产品对比说明技术指导原则》,从基本原理、结构组成、性能、安全性、适用范围等方面,证明产品的安全有效性。
5.1产品有效期和包装研究情况可通过实时老化或加速老化试验获得。加速老化试验及产品包装验证可参照相关系列标准,如YY/T 0681、YY/T 0698、GB/T 19633等。
5.2申请人应提交包装研究资料,依据有关国内、国际标准进行(如GB/T 19633.1等)对包装进行分析研究和评价。
需要提供运输稳定性研究资料,证明在宣称的有效期内,规定的运输条件下,运输过程中的环境条件不会对医疗器械的造成不利影响。
6.1应提供原材料质控信息,包括但不限于:原材料来源、供应商信息、原材料规范化学名称/牌号、安全性数据/化学品安全说明书、原材料符合标准/药典的证明、成分分析报告/检验报告/接受准则。
6.2应当明确呼吸系统过滤器生产工艺流程,注明关键工序和特殊过程,并说明其过程控制点。
6.3有多个研制、生产场地,应当概述每个研制、生产场地的实际情况,相关的生产环境应符合《医疗器械生产监督管理办法》的相关要求。
6.4详细说明产品生产工艺过程及其确定的依据、质量控制标准及其可靠性论证;确认关键工艺点并阐明其对产品物理性能、化学性能、生物性能的影响;确认生产工艺的稳定性。
6.5对生产加工过程中所使用的所有辅剂、助剂、粘合剂等添加剂均应说明使用剂量,提交对残留量、可挥发物质总量的控制措施和接受标准以及安全性验证报告。
若无法证明申报产品与《目录》产品具有等同性,则应按照《医疗器械临床评价技术审查指导原则》其他路径开展相应工作,提供符合要求的临床评价资料。
1.产品说明书、标签和包装标识的编写要求应符合《医疗器械说明书和标签管理规定》、YY/T 0466.1《医疗器械用于医疗器械标签、标记和提供信息的符号 第1部分:通用要求》和YY/T 0753.2《麻醉和呼吸用呼吸系统过滤器 第2部分:非过滤方面》的要求。
2.1使用前,应检查包装是否完好,如有破损禁止使用。
2.3将本产品患者端与通气类器械连接,另一端连接呼吸管路,尽量靠近患者。
2.4废弃产品应根据医院或当地卫生主管部门的相关规定,由有资质或经授权的机构进行无害化处理。
2.5仅限专业人员使用,使用时严格按照操作规程要求进行。
2.6使用过程中应加强呼吸道管理和监测,监测呼吸节律、频率、血氧饱和度及心率,警惕缺氧和窒息表现。出现异常时,应检查呼吸系统过滤器是否通畅,阻塞时应及时更换,或根据病人病情依照医院制定的应急预案进行处理。
2.7使用过程中还需密切关注患者呼吸道情况,一旦发现痰液黏稠或结痂的情况,就要采取主动加湿或其他措施。
2.8预期与呼吸管路等配合使用,必须保证配合使用的器械满足标准接口要求。
2.10提供的信息可包括接头标准、重量、内部容积、最长推荐使用时间,其他信息可参照产品适用标准(YY/T0735.1或者YY/T0735.2)第7章的要求。
2.11如发生过敏,应立即停止使用,并及时采取相应的处置措施。
[4]关于发布医疗器械产品技术要求编写指导原则的通告[Z].
[5]关于公布医疗器械注册申报资料要求和批准证明文件格式的公告[Z].
[7]国家药监理局关于发布医疗器械临床评价技术指导原则等5项技术指导原则的通告[Z].
[8]GB 18279.1,医疗保健产品灭菌环氧乙烷第1部分:医疗器械灭菌过程的开发、确认和常规控制的要求[S].
[9]GB 18279.2,医疗保健产品灭菌环氧乙烷第2部分:GB18279.1应用指南[S].
[10]GB 18280.1,医疗保健产品灭菌辐射第1部分:医疗器械灭菌过程的开发、确认和常规控制要求[S].
[11]GB 18280.2,医疗保健产品灭菌辐射第2部分:建立灭菌剂量[S].
[12]GB 18280.3,医疗保健产品灭菌辐射第3部分:剂量测量指南[S].
[13]GB/T 191,包装贮运图示标志[S].
[14]GB/T 4857,包装运输包装件压力试验方法[S].
[15]GB/T 14233.1,医用输液、输血、注射器具检验方法第1部分:化学分析方法[S].
[16]GB/T 14233.2,医用输液、输血、注射器具检验方法第2部分:生物学试验方法[S].
[17]GB/T 16886.1,医疗器械生物学评价第1部分:风险管理过程中的评价与试验[S].
[18]GB/T 16886.5,医疗器械生物学评价第5部分:体外细胞毒性试验[S].
[19]GB/T 16886.7,医疗器械生物学评价第7部分:环氧乙烷灭菌残留量[S].
[20]GB/T 16886.10,医疗器械生物学评价第10部分:刺激与迟发型超敏反应试验[S].
[21]GB/T 19633.1,最终灭菌医疗器械包装第1部分:材料、无菌屏障系统和包装系统的要求[S].
[22]GB/T 19633.2,最终灭菌医疗器械包装第2部分:成形、密封和装配过程的确认的要求[S].
[23]YY/T 0313,医用高分子产品包装和制造商提供信息的要求[S].
[24]YY/T 0316,医疗器械风险管理对医疗器械的应用[S].
[25]YY/T 0466.1,医疗器械用于医疗器械标签、标记和提供信息的符号第1部分:通用要求[S].
[26]YY/T 0681.1,无菌医疗器械包装试验方法第1部分:加速老化试验指南[S].
[28]YY/T 1040.1,麻醉和呼吸设备 圆锥接头 第1部分:锥头与锥套[S].
[29]YY/T 1040.2,麻醉和呼吸设备 圆锥接头 第2部分:螺纹承重接头[S].
[30]YY/T 0753.1,麻醉和呼吸用呼吸系统过滤器 第1部分:评价过滤性能[S].
[31]YY/T 0753.2,麻醉和呼吸用呼吸系统过滤器 第2部分:非过滤方面[S].
[32]YY 0321.3,一次性使用麻醉用过滤器[S].
[33]GB/T 1962.1,《注射器、注射针及其他医疗器械用6%(鲁尔)圆锥接头 第1部分:通用要求》[S].
[34]GB/T 1962.2,《注射器、注射针及其他医疗器械6%(鲁尔)圆锥接头 第2部分:锁定接头》[S]
[35] YY/T 1778.1-2021,《医疗应用中呼吸气体通路生物相容性评价 第1部分:风险管理过程中的评价与试验》[S]